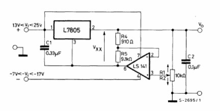
Encontramos este circuito, que requiere fuente simétrica, en el manual de circuitos integrados lineales de la SGS de 1982. El operacional puede ser el 741 y la corriente máxima es de 1 A. El 7805 debe estar dotado de radiador de calor.

Encontramos este circuito, que requiere fuente simétrica, en el manual de circuitos integrados lineales de la SGS de 1982. El operacional puede ser el 741 y la corriente máxima es de 1 A. El 7805 debe estar dotado de radiador de calor.
