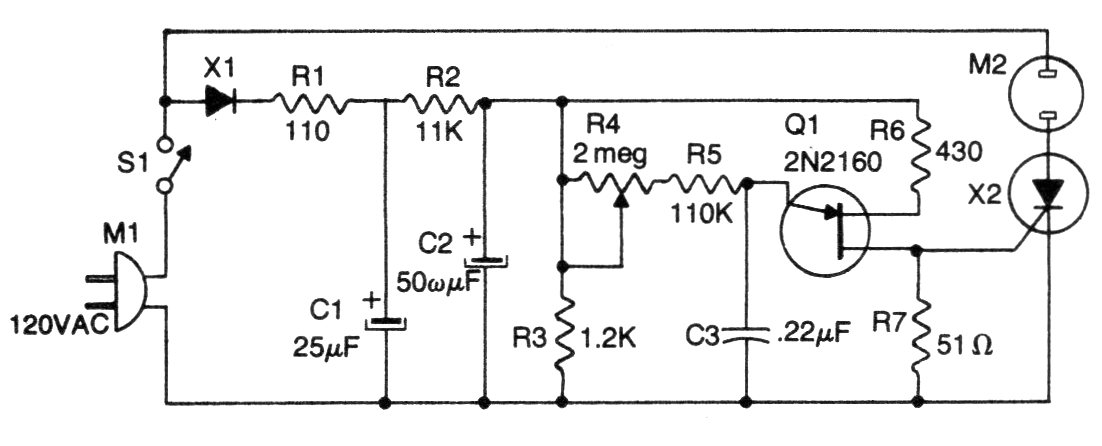
El título original dado al proyecto de 1981 se refiere a una luz estroboscópica incandescente. El SCR puede ser el TIC106 y la potencia máxima de salida es del orden de 200 W. El transistor unijuntura puede ser el 2N2646 y el diodo X1 o 1N4004 para la red de 110 V y 1N4007 para la red de 220 V.




