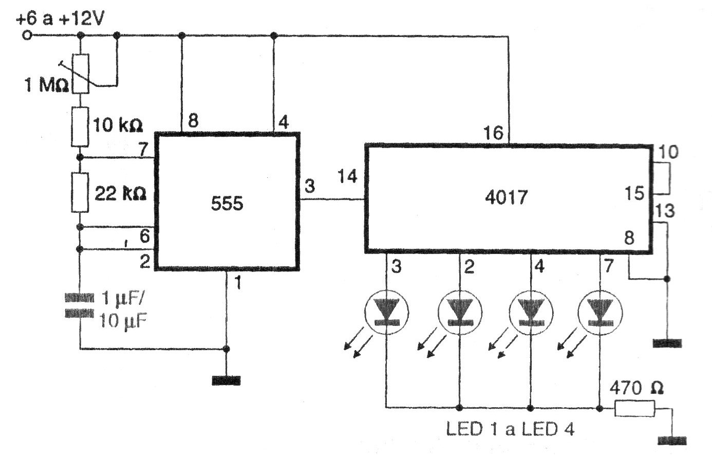
Este sistema de LEDs secuenciales tiene su velocidad ajustada en un potenciómetro de 1 M ohms y esta velocidad depende básicamente del condensador conectado a los pines 2 y 6 del 555. La tensión de alimentación del circuito puede quedar entre 6 y 12 V y la resistencia de 470 Q determina el brillo de los LED.




