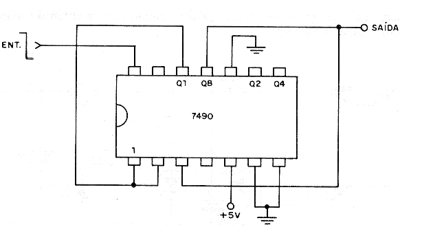
Cada 9 pulsos de entrada este circuito proporciona un pulso de salida. La base es el circuito integrado 7490 TTL, y la alimentación debe ser hecha por una tensión de 5 V. La velocidad máxima de la división está alrededor de 10 MHz pero se pueden utilizar integrados de subfamilia más rápidas.




