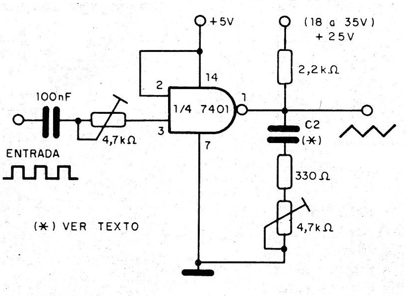
El 7401 es un miembro diferente de la familia TTL porque consta de cuatro puertos NAND pero con los colectores de los transistores de salida abiertos (Esto permite que, con el uso de resistores externos pull-up, podamos alimentar esta etapa con hasta 35 V y excitar En la aplicación de la figura tenemos un circuito que convierte señales rectangulares de hasta 1 MHz en señales triangulares de la misma frecuencia pero con una amplitud mucho mayor, dada justamente la tensión de salida de la etapa. El valor de C2 depende de la frecuencia : podemos usar 470 pF para frecuencias de hasta 100 MHz, 270 pF para hasta 200 kHz y 120 pf hasta 400 kHz. Para frecuencia hasta 1 MHz el valor será de 60 pF. Los ajustes son lineales, realizados en P1 y P2, de modo que se obtiene con la señal TTL de entrada una salida triangular sin distorsiones. La linealidad del circuito es excelente, pudiendo llegar al 1% si se logra un ajuste en hecho. En lugar del 7401 también se puede utilizar el 7426.




