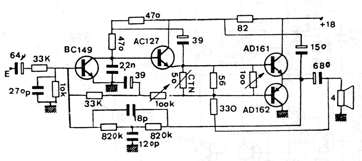
Este buen amplificador con salida en simetría complementaria es de una publicación antigua, pudiendo ser usados transistores equivalentes modernos. En la salida se puede utilizar el par BD135 y 136 o incluso TIP31 y TIP32. La ganancia es 20 dB y la resistencia de entrada de 50 k ohmios. Con transistores modernos pueden ser necesarios cambios de algunos resistores.




