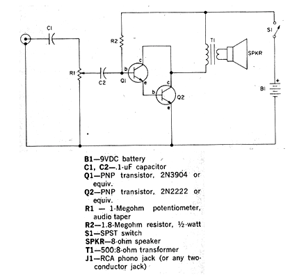
Este circuito en una edición de 1979 de una publicación americana (USA). Se trata de un micro amplificador de uso general que aprovecha componentes de chatarra como el pequeño transformador de salida encontrado en radios transistorizados antiguos. Los transistores pueden los BC548 y R1 funciona como control de volumen. La alimentación tanto se puede hacer con una batería de 6 V como de 9 V. R2, dependiendo de la tensión de alimentación debe cambiarse para el mejor rendimiento sin distorsión.




