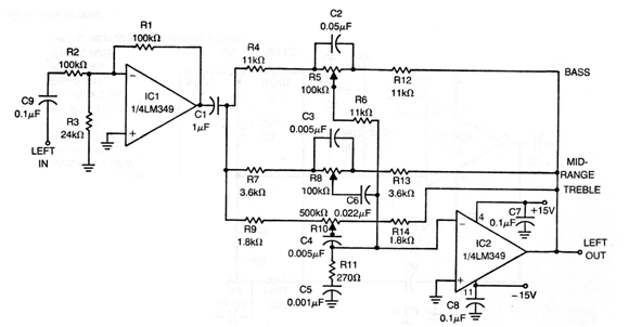
Este circuito fue encontrado en una antigua publicación estadounidense. El circuito integrado utilizado no es más simple de encontrar, pero si se encuentra puede ser utilizado en un excelente control de tono. Se pueden experimentar amplificadores operacionales comunes. Como el 741. La fuente debe ser simétrica con excelente filtrado y los cables de señal deben ser blindados. El circuito se conecta a la entrada de un amplificador. Los potenciómetros usados deben ser lineales. Este circuito corresponde a uno de los canales de un sistema estéreo, debiendo montarse otra unidad para el canal derecho.




