La frecuencia de la señal rectangular TTL aplicada en la entrada de este circuito queda dividida por 8. Para cada 8 pulsos de entrada tenemos 1 de salida. La alimentación debe ser de 5V.

Divisor por 5
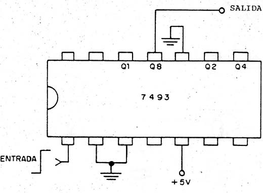
La frecuencia de la señal rectangular TTL aplicada en la entrada de este circuito queda dividida por 8. Para cada 8 pulsos de entrada tenemos 1 de salida. La alimentación debe ser de 5V.
