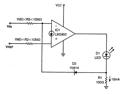
Este circuito comparador tiene como realimentación un diodo pudiendo funcionar con tensiones entre 5 y 12 V. El circuito tiene una resistencia de entrada extremadamente alta y acciona un LED como carga. La corriente de salida es de 10 mA, determinada por la resistencia R1. Conforme a la aplicación, este componente puede cambiar.




