Fenómenos paranormales, aura y otros, pueden ser estudiados con la ayuda de la máquina Kirlian. Se trata de un generador de MAT (muy alta tensión) que aplicado a un electrodo especial pone en relieve el campo "bioenergético" que existe en torno a las criaturas vivas.
Este campo que se vuelve luminoso bajo el efecto de la alta tensión es conocido por "aura" y puede ser fotografiado con la ayuda de una película común colocada junto al propio electrodo. En la figura 1 tenemos el circuito del aparato que produce una alta tensión del orden de 10000 voltios.
Se debe tomar mucho cuidado al manipular este aparato en vista de la alta tensión existente.
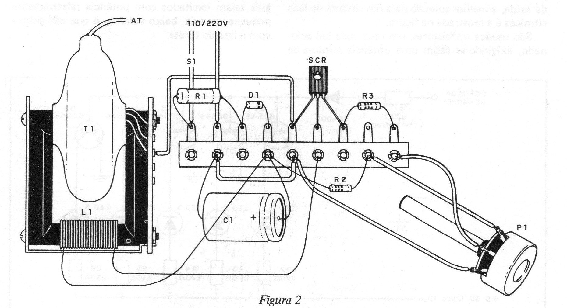
El ajuste del punto de funcionamiento se realiza en P1.
El SCR debe ser obligatoriamente el MCR106-6 o TIC106D, ya que otros tipos no oscilan con la misma facilidad, pudiendo frustrar el montador. El resistor R1 se da con valor para la red de 110 V, y entre paréntesis el valor para la red de 220 V.
En la figura 2 tenemos el montaje en una barra de terminales.
El transformador T1 es un fIyback de televisor blanco-negro común, de cualquier tipo antiguo del tipo abierto. El enrollamiento L1 está formado por 15 a 20 vueltas de hilo común, hechas de la manera indicada en la propia figura.
El electrodo es el elemento más importante de este montaje. Se trata de una placa de cobre que debe ser cubierta totalmente por una hoja de vidrio. La hoja de vidrio debe ser por lo menos 5 cm más grande en todas las dimensiones para evitar la posibilidad de chispas peligrosas.
La placa de cobre debe montarse sobre una base de material aislante, como por ejemplo madera gruesa o incluso acrílica
La conexión de esta placa al terminal de alta tensión del flyback en su parte superior, debe ser hecha con cable especial para alta tensión, con aislamiento capaz de soportar los 10 000 V o más presentes en este punto.
Para utilizar la máquina, se debe buscar un ambiente oscuro. El objeto será colocado sobre la placa de vidrio, y en su vuelta aparecerá una fosforescencia verde azulada que es la aura.
El patrón de este aura depende del objeto y de su naturaleza. La mano de una persona puede ser apoyada en este punto, ajustándose P1 para que no haya peligro de una descarga desagradable.
Entre el objeto y la placa de vidrio se puede colocar una película fotográfica virgen para registrar el aura. El tiempo de exposición para cada caso debe obtenerse experimentalmente.





