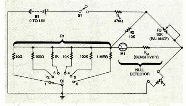
Encontramos este circuito en la edición de septiembre de 1995 de la revista Electronics Now. El circuito tiene 6 escalas para medidas de resistencia y utiliza un indicador analógico de 50 uA a 1 mA.
Este circuito se puede ajustar para disparar y producir un sonido cuando la luz en el LDR se corta...
Este oscilador Hartley experimental produce señales en el rango de 500 kHz a 1,5 MHz, sirviendo para...
Describimos un simple temporizador o temporizador que puede encender o apagar un aparato eléctrico o...