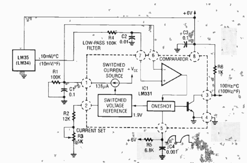
Encontramos este circuito en la edición de marzo de 1992 de la revista Radio Electronics. El circuito proporciona 100 Hz por cada grado Celsius o Fahrenheit.
Cuando alguien que ingresa a una ubicación abre uno de los sensores conectados a la puerta SOR, el...
¿Qué tal montar un intercomunicador secreto para conversar con su hermano, vecino o compañero sin que...
Este circuito detecta cuando la temperatura de un congelador, mostrador frigorífico o incluso un...