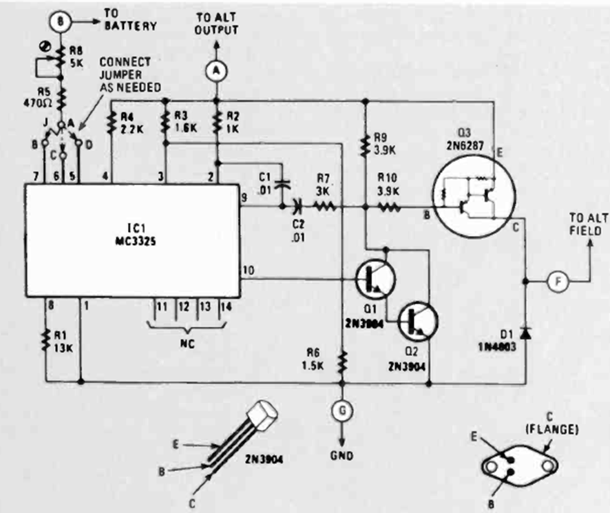
Este circuito fue encontrado en la revista Radio Electronics de junio de 1980. El circuito hace uso de un integrado de la época y de una potencia Darlington que debe estar equipada con un disipador de calor.
Se presenta una prueba simple de transistores NPN y PNP que, además de decir si el componente está bien,...
Si usted necesita un circuito para producir un tono continuo en un bocadillo o cápsula...
Cuando un pulso de luz incide en el LDR, este circuito dispara un temporizador monoestable 555 que acciona...