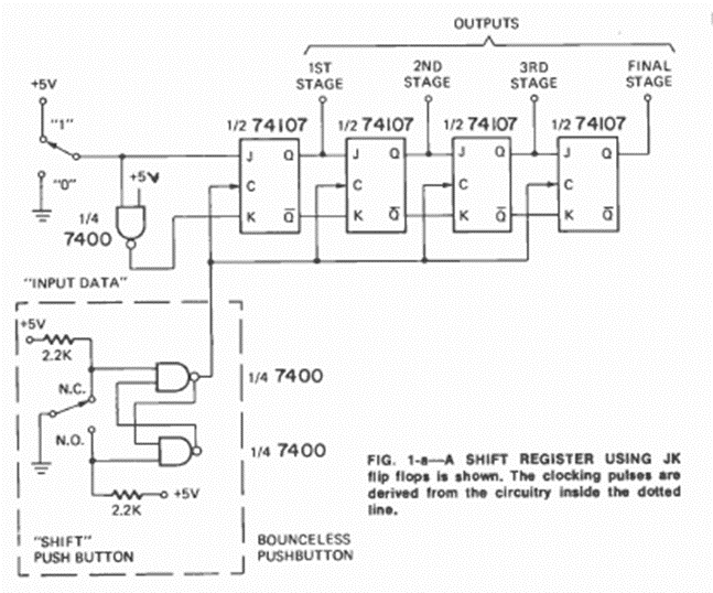
Encontrado en un artículo de la revista Radio Electronics de diciembre de 1974, este circuito tiene propósitos educativos y puede usarse para enseñar cómo funciona un registro de desplazamiento (shift register). A las salidas se pueden conectar LED.
Se presenta una prueba simple de transistores NPN y PNP que, además de decir si el componente está bien,...
Si usted necesita un circuito para producir un tono continuo en un bocadillo o cápsula...
Cuando un pulso de luz incide en el LDR, este circuito dispara un temporizador monoestable 555 que acciona...