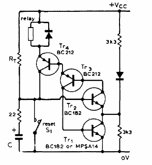
Los transistores de este circuito de temporización pueden ser tipos más modernos como los BC548 y BC558. El circuito es de una documentación técnica de 1979. El tiempo obtenido depende de la constante RC de entrada. El relé puede ser de 6 V o 12 V según la alimentación usada.




