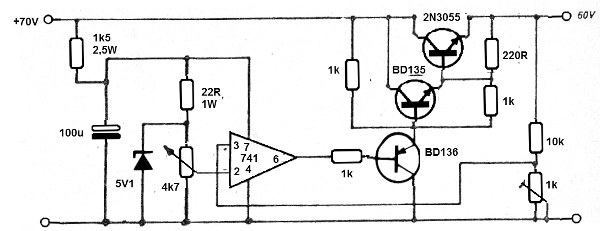
Se obtiene este circuito en una publicación británica de 1975. Es un circuito regulador de tensión para corrientes de hasta 5 A y una tensión de entrada de hasta 70 V a 60 V. El transistor 2N3055 salida debe estar provisto de excelente radiador de calor. El ajuste de la tensión de salida se realiza en el potenciómetro dentro del rango permitido. Hemos hecho algunos cambios en el circuito original para permitir su montaje con componentes actualizados.




