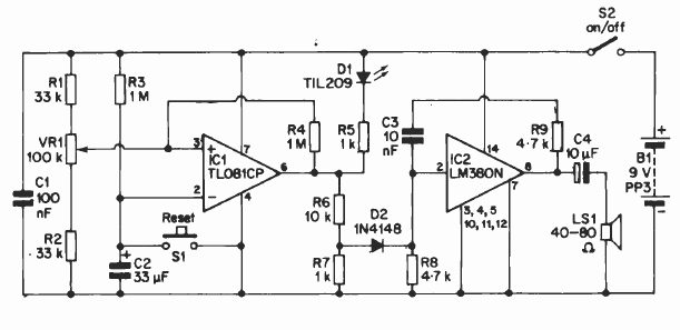
Encontrado en una documentación en inglés, este temporizador produce una señal de audio al final del tiempo. El tiempo se establece en VR1 en función del capacitor C2.

Temporizador con alarma sonora
Encontrado en una documentación en inglés, este temporizador produce una señal de audio al final del tiempo. El tiempo se establece en VR1 en función del capacitor C2.
