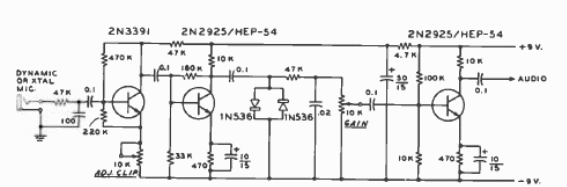
Este circuito es adecuado para modular transmisores AM. El circuito es de una documentación de radioaficionados de 1977. Los transistores son tipos comunes en ese momento.

Amplificador limitador
Este circuito es adecuado para modular transmisores AM. El circuito es de una documentación de radioaficionados de 1977. Los transistores son tipos comunes en ese momento.
