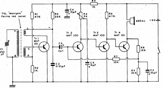
Este sensible receptor con auricular se encontró en una documentación inglesa de 1963. Los transistores están hechos de germanio. No se dio información sobre la bobina.

Receptor regenerativo de 4 transistores
Este sensible receptor con auricular se encontró en una documentación inglesa de 1963. Los transistores están hechos de germanio. No se dio información sobre la bobina.
