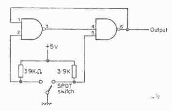
Un circuito antirrebote más de los muchos que tenemos en esta sección del sitio y aplicado a nuestros proyectos. Esto usa dos puertas NAND del 7400 y se aplica a los circuitos TTL

Llave antirrebote 7400
Un circuito antirrebote más de los muchos que tenemos en esta sección del sitio y aplicado a nuestros proyectos. Esto usa dos puertas NAND del 7400 y se aplica a los circuitos TTL
