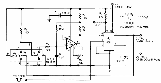
La constante de tiempo de este circuito es 100 x R1 x C1, lo que lleva a la posibilidad de obtener tiempos de muchas horas. El circuito es de una publicación de 1977 y la alimentación depende de la aplicación.

La constante de tiempo de este circuito es 100 x R1 x C1, lo que lleva a la posibilidad de obtener tiempos de muchas horas. El circuito es de una publicación de 1977 y la alimentación depende de la aplicación.
