Este circuito se obtuvo de una documentación estadounidense de los años 60. El circuito hace uso de amplificadores operacionales de la época. Se pueden probar equivalentes modernos.

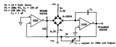
VCO lineal
Este circuito se obtuvo de una documentación estadounidense de los años 60. El circuito hace uso de amplificadores operacionales de la época. Se pueden probar equivalentes modernos.
