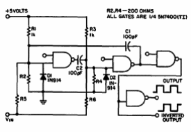
Este circuito se encontró en un antiguo manual de circuitos TTL. El circuito debe estar alimentado por 5V y los capacitores elegidos de acuerdo con el rango de frecuencia generado.

VCO TTL de 7 MHz
Este circuito se encontró en un antiguo manual de circuitos TTL. El circuito debe estar alimentado por 5V y los capacitores elegidos de acuerdo con el rango de frecuencia generado.
