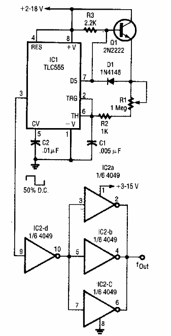
Encontrado en una Electronics Now de los años 90, este circuito con el 555 genera una señal con un ciclo de trabajo del 50%. La frecuencia se establece en R1.

555 con ciclo activo
Encontrado en una Electronics Now de los años 90, este circuito con el 555 genera una señal con un ciclo de trabajo del 50%. La frecuencia se establece en R1.
