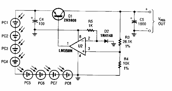
El circuito es de un Manual de Electronics Hobbyst de los años 90, siendo válido para paneles de la época, con menor rendimiento. El circuito suministra 2,4 V con una corriente de 125 mA.

Fuente lineal con panel solar
El circuito es de un Manual de Electronics Hobbyst de los años 90, siendo válido para paneles de la época, con menor rendimiento. El circuito suministra 2,4 V con una corriente de 125 mA.
