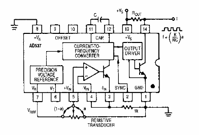
Encontramos este circuito en la documentación de Analog Devices de los años 90. El circuito se basa en un componente de la época, lo que es poco común en la actualidad. Este es el AD537.

Interfaz para transductores resistivos
Encontramos este circuito en la documentación de Analog Devices de los años 90. El circuito se basa en un componente de la época, lo que es poco común en la actualidad. Este es el AD537.
