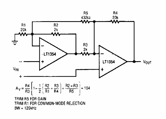
Encontrado en la documentación de Linear Technology, este amplificador requiere una fuente simétrica y su ganancia viene dada por los componentes de acuerdo con la fórmula al lado del diagrama.

Amplificador de instrumentación
Encontrado en la documentación de Linear Technology, este amplificador requiere una fuente simétrica y su ganancia viene dada por los componentes de acuerdo con la fórmula al lado del diagrama.
