Este circuito es el receptor del transmisor anterior modulado por una señal de audio. El transductor es una cápsula de cerámica, en cuyo caso el circuito se vuelve ideal para transmisiones telegráficas.

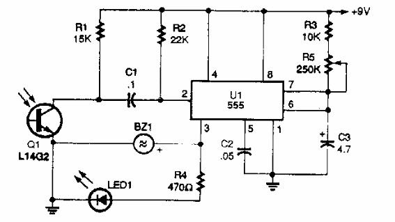
Receptor de enlace de infrarrojos
Este circuito es el receptor del transmisor anterior modulado por una señal de audio. El transductor es una cápsula de cerámica, en cuyo caso el circuito se vuelve ideal para transmisiones telegráficas.
