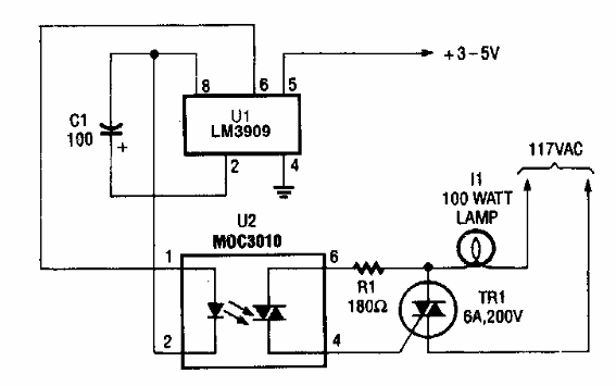
Este circuito fue encontrado en una Popular Electronics de los años 80. Con él podemos hacer que una lámpara incandescente de 100 W parpadee a una frecuencia determinada por C1. El sector del circuito integrado está aislado por un acoplador óptico.

Pulsador de alta potencia LM3909



