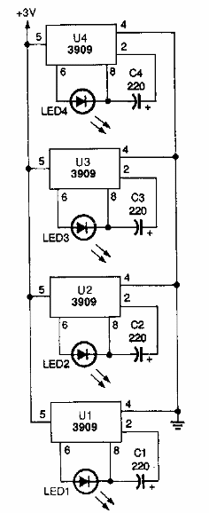
Encontramos este circuito en un Popular Electronics de los años 80. El circuito se basa en el LM3909, un componente de baja tensión para conducir LED.

Flashes para árbol de Navidad
Encontramos este circuito en un Popular Electronics de los años 80. El circuito se basa en el LM3909, un componente de baja tensión para conducir LED.
