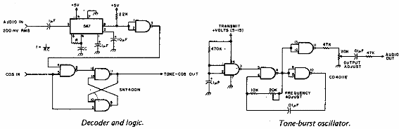
Los siguientes circuitos se encontraron en la documentación estadounidense antigua. El circuito se puede implementar con otra lógica.

Generador y decodificador de tonos
Los siguientes circuitos se encontraron en la documentación estadounidense antigua. El circuito se puede implementar con otra lógica.
