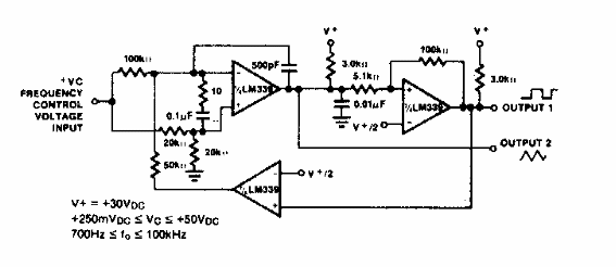
Utilizando amplificadores operacionales de la época, encontramos este circuito en documentación de los años 90. La configuración se puede adaptar para utilizar amplificadores operacionales modernos.

VCO de dos décadas de alta frecuencia
Utilizando amplificadores operacionales de la época, encontramos este circuito en documentación de los años 90. La configuración se puede adaptar para utilizar amplificadores operacionales modernos.
