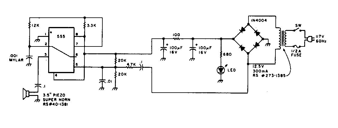
Este repelente opera con frecuencias de 30 a 45 kHz, sirviendo para insectos y roedores. El circuito es de documentación de los años 80. El transductor es de tipo piezoeléctrico.
Este circuito es sensible al calor, pudiendo servir de alarma de sobrecalentamiento de piezas,...
Un viejo transformador de salida sacado de alguna radio transistorizada antigua que ya no funciona es...
Este pequeño radio para la banda AM utiliza cuatro transistores con un amplificador complementario para...