Encontrado en una electrónica popular de los años 80, este circuito utiliza componentes comunes en nuestros tiempos. El SCR puede ser un TIC106 y se puede alimentar con 9 V.

Alarma antirrobo
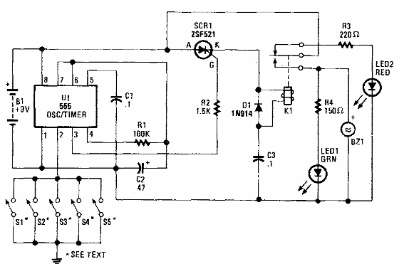
Encontrado en una electrónica popular de los años 80, este circuito utiliza componentes comunes en nuestros tiempos. El SCR puede ser un TIC106 y se puede alimentar con 9 V.
