Este circuito se encontró en la documentación estadounidense de la década de 1980. El transistor es poco común hoy en día, pero dada la baja frecuencia, se puede probar un RF PNP actual.

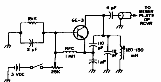
Multiplicador Q para 1400 kHz
Este circuito se encontró en la documentación estadounidense de la década de 1980. El transistor es poco común hoy en día, pero dada la baja frecuencia, se puede probar un RF PNP actual.
