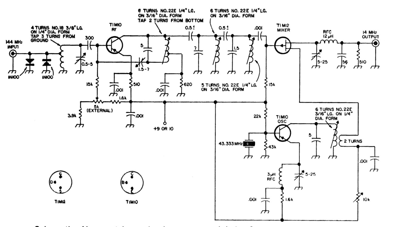
Este convertidor para la banda de 150 MHz se encontró en una documentación estadounidense. Los transistores son poco comunes hoy en día y se pueden usar equivalentes.
La simple luz de tiempo tiene muchas de otras Aplicaciones. Cuando se toca en S1, un interruptor de la...
Encontramos esta configuración tradicional de oscilador por puente de Wien en una documentación de Texas...
Una lámpara de neón y algunos componentes de chatarra pueden resultar en un interesante...