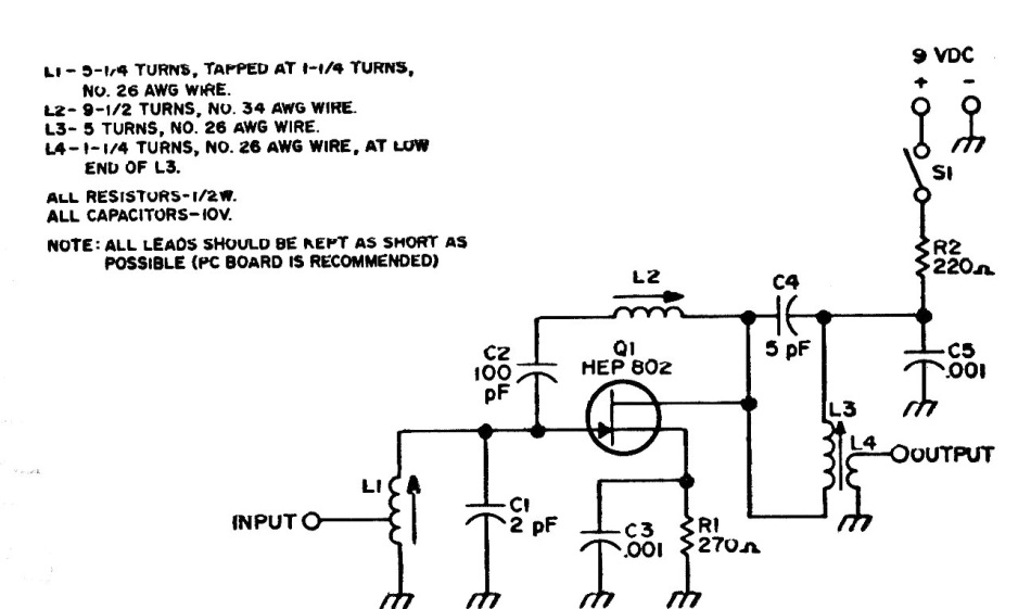
Este amplificador para señales en el rango de 2 m que corresponde a 150 MHz fue encontrado en una documentación americana de la década de 1980.
La simple luz de tiempo tiene muchas de otras Aplicaciones. Cuando se toca en S1, un interruptor de la...
Encontramos esta configuración tradicional de oscilador por puente de Wien en una documentación de Texas...
Una lámpara de neón y algunos componentes de chatarra pueden resultar en un interesante...