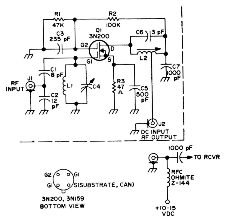
Este circuito utiliza un MOSFET doble, un componente no muy fácil de conseguir en la actualidad. El circuito es de una documentación de la década de 1980 y no se dan detalles de las bobinas, que deben calcularse para las frecuencias de operación.
Este circuito utiliza un MOSFET doble, un componente no muy fácil de conseguir en la actualidad. El circuito es de una documentación de la década de 1980 y no se dan detalles de las bobinas, que deben calcularse para las frecuencias de operación.