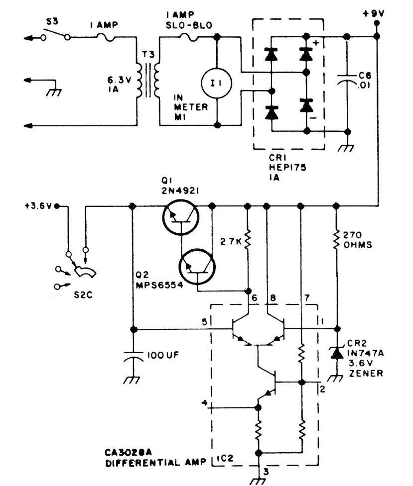
Esta sofisticada fuente de los años 80 utiliza componentes de la época, lo que dificulta su elaboración en su forma original. Los transistores admiten equivalentes, pero el circuito amplificador diferencial es fundamental.

 

Fuente de alimentación de 9 V
Fuente de alimentación de 9 V | Haga click en la imagen para ampliar |