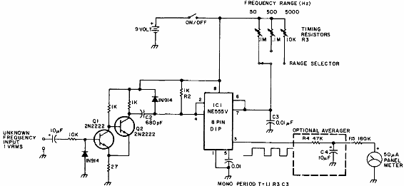
Este instrumento se obtuvo en una documentación para radioaficionados de 1976. El circuito mide frecuencias en tres bandas y en lugar del instrumento se puede utilizar la escala más baja de corrientes de un multímetro analógico común. La precisión del circuito depende de los ajustes.




