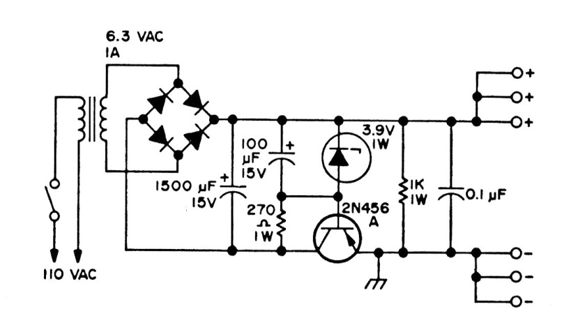
Esta es una fuente simple indicada para alimentar proyectos de baja tensión en el banco. El circuito es de documentación antigua y el transistor puede ser el TIP32 para corrientes de hasta 1 A. El transistor debe estar equipado con un disipador de calor.




