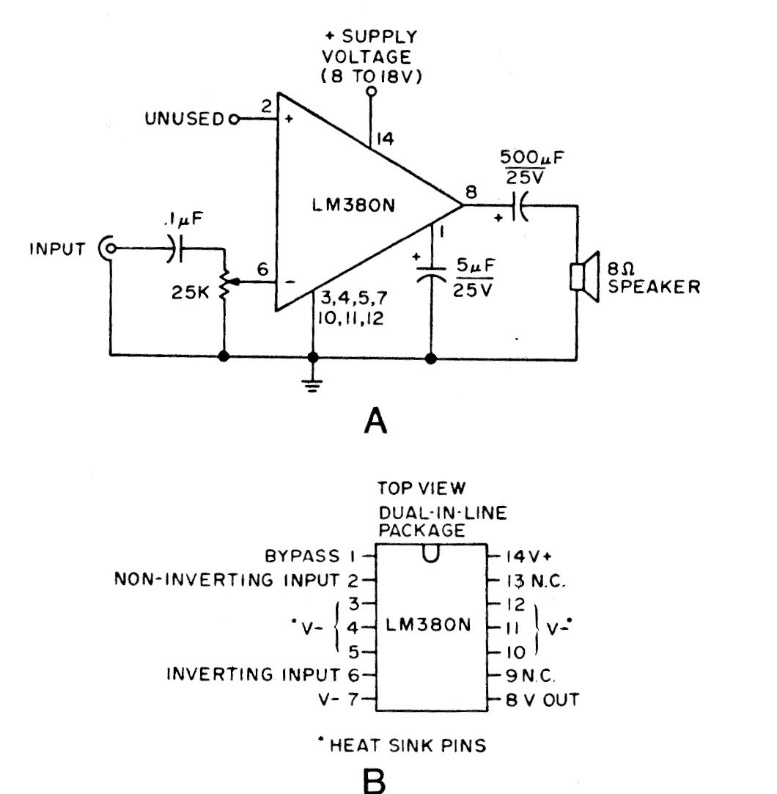
Este circuito de fábrica aparece en otra parte de este sitio. Esto es de la documentación técnica de National 1975. El sonido obtenido es de buena calidad.
La lámpara de prueba o lámpara de serie es un instrumento ultra-simple, pero de gran utilidad en la...
) Es un montaje experimental muy simple que genera tensiones elevadas a partir de una pila común. Estas...
Esta es una radio experimental para la banda de ondas medias, que con una antena pequeña puede...