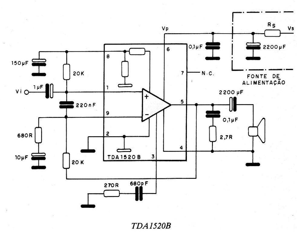
Este circuito integrado se recomienda como amplificador estándar en equipos de sonido, televisores, grabadoras, etc. Se presenta en una caja SIL de 9 pines. Entre los principales destaques tenemos:
- Funciona con simétrico desestabilizado o asimétrico estabilizado de 15 a 50 V.
- Ganancia de tensión con realimentación ajustable entre 20 dB y 46 dB (alimentación de 33 V y carga de 4 ohms).
- Voltaje de compensación de salida muy bajo (100 mV, máx.), Lo que lo hace ideal para conexiones de puente.
- Crossover bajo y distorsión de cruce secundario.
- Baja distorsión de intermodulación (0.02 ° / o en Po = 10 W) y distorsión transitoria de intermodulación (0.01% en Po = 10 W).
- Baja distorsión armónica
- Alta tasa de crecimiento (6 V / us)
- Silenciar la entrada durante las operaciones de encendido y apagado, lo que elimina los clics.
- Excelente rechazo de ondulaciones (60 dB a 100 Hz) 0 Protección térmica interna.
Para una distorsión total de 0,5 ° / o tenemos una potencia de salida de 22 W con una alimentación de 33 V y una carga de 4 ohms.




