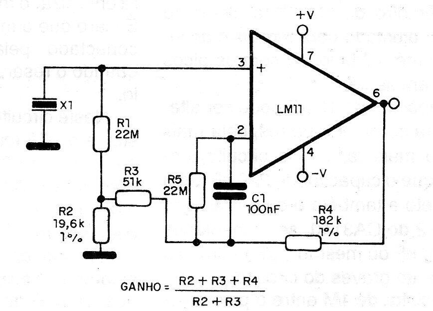
Este amplificador, propuesto por National Semiconductor, se caracteriza por su impedancia de entrada muy alta de 880 megaohms y hace uso de un LM11. La fuente de alimentación debe ser simétrica de 9 a 15 voltios y los resistores en los puntos más críticos deben estar dentro del 1% de tolerancia. Una de las aplicaciones de este circuito es en sensores de vibración, o incluso en audio.




