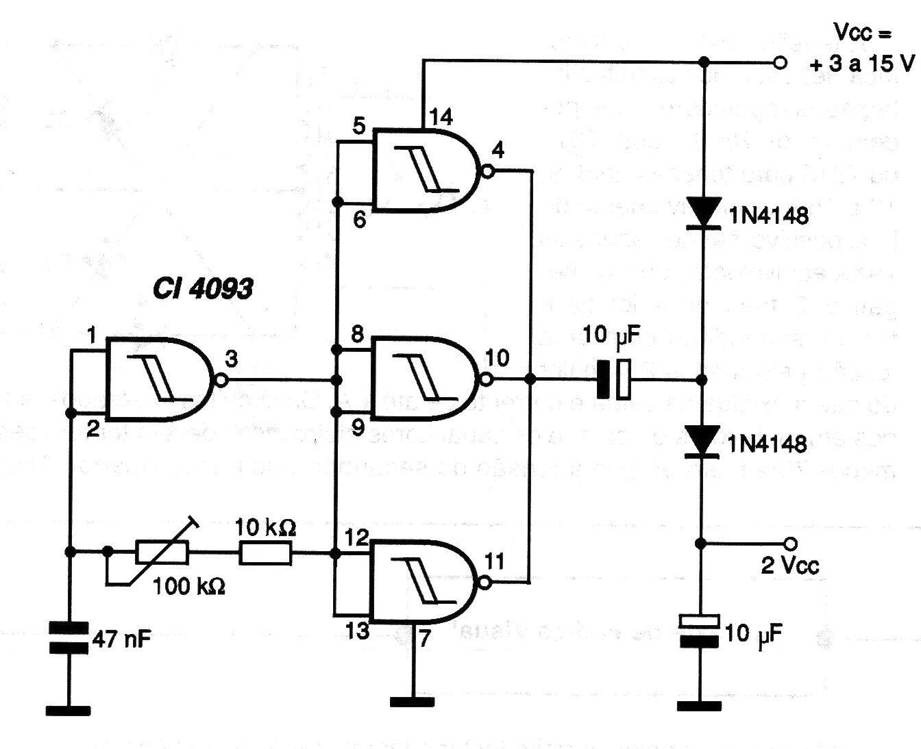
Este duplicador de tensión está indicado para aplicaciones donde se requiere una tensión igual al doble del aplicado en la entrada, pero bajo un régimen de corriente muy baja (solo para polarización). La corriente de salida está limitada a unos pocos microamperes. El ajuste del mejor punto de rendimiento se realiza en el potenciómetro de 100 k ohms. El capacitor determina la frecuencia del circuito y se puede cambiar según la aplicación. Con el uso de un paso de potencia transistorizado en la salida del oscilador, es posible aumentar la capacidad actual de este doblador. Podemos utilizar un Power-FET o incluso uno bipolar como el BD135 que, evidentemente, se debe montar sobre un radiador de calor.




