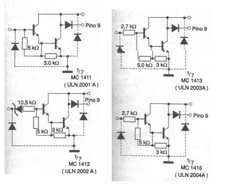
Los circuitos integrados de la serie ULN2001 / 2/3/4 también conocidos como MC1411 / 12/13/14 constan de controladores que pueden proporcionar una salida de hasta 500 mA para el control directo de cargas desde entradas de señales digitales. Los cuatro circuitos se diferencian por la configuración interna de sus transistores Darlington, como se muestra en la figura 1.

Así, tus aplicaciones dependen únicamente de la lógica de control a utilizar, es decir, del tipo de PC, microcontrolador o microprocesador que hará la interfaz. La siguiente tabla muestra estas características:
Tipo de aplicación (compatibilidad)
MC1411 / ULN2001A Propósito general, DTL y TTL, PMOS y CMOS
MC1412 / ULN2002A Lógica PMOS de 14 a 25 V - contiene zener interno
MC1413 / ULN2003A TTL o CMOS con alimentación de 6 V: tiene una resistencia de 2,7 k ohmios en serie con la entrada
MC1414 / ULN2004A TTL o CMOS con alimentación de 8 a 18 V: tiene una resistencia de 10,5 k ohmios en serie con la entrada
En la figura 2 tenemos un circuito de interfaz de PC típico con una carga de alta potencia (500 mA), por ejemplo, conjuntos de relés, solenoides o incluso motores.




