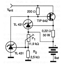
En la figura tenemos un circuito de carga de batería para corrientes de hasta aproximadamente 5 A. En serie con la batería, se puede conectar un amperímetro y un voltímetro en paralelo para que se monitoree el proceso de carga. El resistor de 0.22 ohms es alta disipación y el trimpot P1 ajusta la tensión de carga, es decir, la tensión al que se considera que la batería está cargada. Se utilizan dos referencias de voltaje TL431 de Texas Instruments que sugieren que se usa este circuito. El transistor Darlington admite equivalentes y debe montarse en un radiador de calor excelente.




