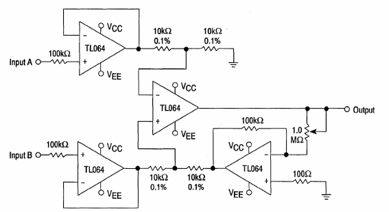
Este circuito de alta impedancia de entrada es sugerido por el Linear Interface ICs de de Motorola de 1993. La fuente de alimentación debe ser simétrica. El circuito tiene una entrada diferencial.

Amplificador de instrumentación TL064
Este circuito de alta impedancia de entrada es sugerido por el Linear Interface ICs de de Motorola de 1993. La fuente de alimentación debe ser simétrica. El circuito tiene una entrada diferencial.
