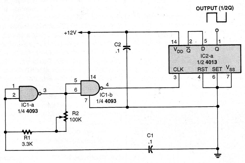
Este oscilador CMOS tiene las señales producidas por un 4093 que excita un flip-flop. El circuito puede operar con tensiones entre 5 y 12 V, generando señales de unos pocos megahertz, dependiendo de la configuración de R2 y capacitor C1. El circuito es de una publicación estadounidense de los años 90.




